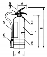
手提贮压式灭火器外形图
磷酸铵盐、1211灭火器外形图   磷酸铵盐、1211灭火器外形图    二氧化碳灭火器外形图
(MFZ/ABC1~3、MJZ/1~3)   (MFZ/ABC4~8、MJZ/4~8)    (NTZ/2~3)     
 
    
   
二氧化碳灭火器外形图 水基型灭火器外形图
(NTZ/5) (MSZ/AR3~9、MPZ/AR3~9)
 
   
手提贮压式磷酸铵盐干粉灭火器外形尺寸表

手提贮压式二氧化碳、1211、泡沫灭火器外形尺寸表

 
    
   
二氧化碳灭火器外形图 水基型灭火器外形图
(NTZ/5) (MSZ/AR3~9、MPZ/AR3~9)
 
   
手提贮压式磷酸铵盐干粉灭火器外形尺寸表

手提贮压式二氧化碳、1211、泡沫灭火器外形尺寸表

各部名称:1-钢瓶;2-阀体总成;3-压力表;4-喷嘴;5-喷管;6-喷筒;7-喷枪;8-卡管带;9-保险扎带;
说明:1.本图未编入手提式碳酸氢钠干粉灭火器产品。如需采用请直接与参编企业联系。
2.表中括号内为广东平安消防设备有限公司产品数据。
说明:1.本图未编入手提式碳酸氢钠干粉灭火器产品。如需采用请直接与参编企业联系。
2.表中括号内为广东平安消防设备有限公司产品数据。


